XFD系列浮选机广泛用于地质、冶金、建材、矿业、化工等科研部门实验使用。
用途实验室XFD系列浮选机
实验室用XFD型系列单槽式浮选机供地质、冶金、建筑材料、化学等工业实验室浮选少量矿样用。
主要技术参数:
| 
 序号  | 
 技术参数  | 
 单位  | 
 数值  | 
||||||
| 
 XFD-0.5  | 
 XFD-0.75  | 
 XFD-1  | 
 XFD-1.5  | 
 XFD-3  | 
 XFD-8  | 
||||
| 
 1  | 
 浮选槽容积  | 
 L  | 
 0.5  | 
 0.75  | 
 1  | 
 1.5  | 
 3  | 
 8  | 
|
| 
 2  | 
 叶轮直径  | 
 MM  | 
 φ45  | 
 φ45  | 
 φ55  | 
 φ60  | 
 φ70  | 
 φ80  | 
|
| 
 3  | 
 叶轮转速  | 
 Ⅰ  | 
 转/分  | 
 2590  | 
 2590  | 
 2100  | 
 1910  | 
 1890  | 
 1400  | 
| 
 Ⅱ  | 
 2340  | 
 2340  | 
 1900  | 
 1750  | 
 1708  | 
 1400  | 
|||
| 
 Ⅲ  | 
 2130  | 
 2130  | 
 1700  | 
 1590  | 
 1544  | 
 1400  | 
|||
| 
 5  | 
 给料粒度  | 
 MM  | 
 -0.2  | 
 -0.2  | 
 -0.2  | 
 -0.2  | 
 -0.2  | 
 -0.2  | 
|
| 
 6  | 
 电机  | 
 W  | 
 2800转/分 180  | 
 6324 1410转/分 250  | 
|||||
| 
 7  | 
 电压  | 
 V  | 
 380  | 
 380  | 
 380  | 
 380  | 
 380  | 
 380  | 
|
| 
 8  | 
 外型尺寸  | 
 长  | 
 520  | 
 520  | 
 520  | 
 560  | 
 570  | 
 380  | 
|
| 
 宽  | 
 263  | 
 263  | 
 263  | 
 265  | 
 310  | 
 505  | 
|||
| 
 高  | 
 628  | 
 628  | 
 628  | 
 590  | 
 668  | 
 970  | 
|||
| 
 9  | 
 重量  | 
 kg  | 
 30  | 
 30  | 
 35  | 
 40  | 
 50  | 
 80  | 
|
产品结构简介实验室XFD系列浮选机
 
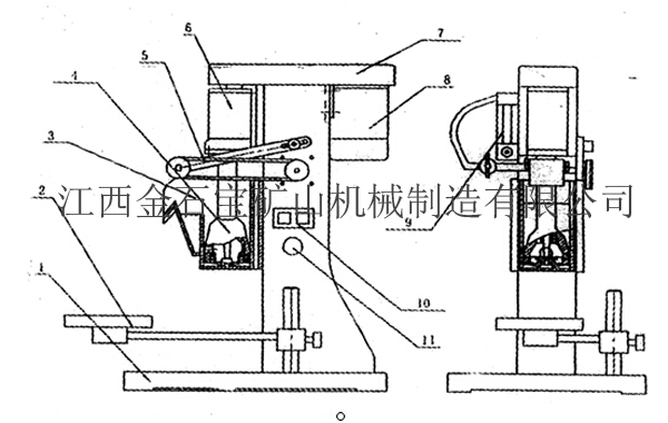
XFD型系列浮选机由下列主要部件组成:
(1) 机座(2)托板(3)槽体(4)搅拌部(5)刮板部分(6)主轴部分(7)护罩(8)电机(9)流量计(10)控制开关(11)刮板开关
所有部件都紧固在机体上,主轴按顺时针方向转动,通过不同皮带槽主轴产生三种不同的速度;刮板的转动由刮板电动机通过皮带轮带动,刮板的位置可通过蝶形螺母调节高低。